摘要:以下是由希賽網整理的2012年下半年程序員考試下午真題,希望對備考程序員考試的考生有所幫助。
2012年下半年程序員考試下午真題:
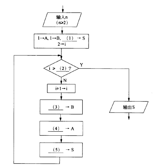
● 閱讀以下說明和流程圖,填補流程圖中的空缺(1)~(5),將解答填入答題紙的對應欄內。
【說明】
本流程圖用于計算菲波那契數列 {a1=1,a2=1,…,an=an-1+nn-2|n=3,4,…}的前n 項 ( n≥2) 之和 S。例如,菲波那契數列前6 項之和為 20。計算過程中,當前項之前的兩項分別動態地保存在變量 A 和 B 中。
【流程圖】
● 閱讀以下說明和C函數,填充函數中的空缺,將解答填入答題紙的對應欄內。
【說明】
如果矩陣A中的元素A[i,j]滿足條件: A[i,j]是第i行中值最小的元素,且又是第j列中值最大的元素,則稱之為該矩陣的一個馬鞍點。
一個矩陣可能存在多個馬鞍點,也可能不存在馬鞍點。下面的函數求解并輸出一個矩陣中的所有馬鞍點,最后返回該矩陣中馬鞍點的個數。

● 閱讀以下說明和C函數,填充函數中的空缺,將解答填入答題紙的對應欄內。
【說明】
函數Insert_key(*root ,key)的功能是將鍵值 key 插入到*boot指向根結點的二叉查找樹中(二叉查找樹為空時 *root 為空指針)。若給定的二叉查找樹中已經包含鍵值為 key 的結點,則不進行插入操作井返回 0;否則申請新結點、存入 key 的值并將新結點加入樹中,返回1。
提示:
·二叉查找樹又稱為二叉排序樹,它或者是一棵空樹,或者是具有如下性質的二叉樹:
·若它的左子樹非空,則其左子樹上所有結點的鍵值均小于根結點的鍵值;
·若它的右子樹非空,則其右子樹上所有結點的鍵值均大于根結點的鍵值;
·左、右子樹本身就是二叉查找樹。
設二叉查找樹采用二叉鏈表存儲結構,鏈表結點類型定義如下:

● 閱讀以下說明和 C 函數,填充函數中的空缺,將解答填入答題紙的對應欄內。
【說明】
己知兩個整數數組 A 和 B 中分別存放了長度為 m 和 n 的兩個非遞減有序序列,函數 Adjustment(A,B,m,n)的功能是合并兩個非遞減序列,并將序列的前m個整數存入A中,其余元素依序存入 B 中。
例如:
合并過程如下:從數組 A 的第一個元素開始處理。用數組 B 的最小元素 B[O]與數組 A 的當前元素比較,若 A 的元素較小,則繼續考查 A 的下一個元素;否則,先將A的最大元素暫存入temp ,然后移動A中的元素挪出空閑單元并將 B[O]插入數組 A ,最后將暫存在temp 中的數據插入數組B的適當位置(保持 B的有序性)。如此重復,直到A中所有元素都不大于B中所有元素為止。
● 閱讀以下說明和c++代碼,填充代碼中的空缺,將解答填入答題紙的對應欄內。
【說明】
下面的程序用來計算并尋找平面坐標系中給定點中最近的點對(若存在多對,則輸出其中的一對即可)。程序運行時,先輸入點的個數和一組互異的點的坐標,通過計算每對點之間的距離,從而確定出距離最近的點對。例如,在圖 5-1 所示的8個點中,點(1,1) 與(2,0.5)是間距最近的點對。



● 閱讀以下說明和 Java 程序,填充程序中的空缺,將解答填入答題紙的對應欄內。
【說明】
下面的程序用來計算并尋找平面坐標系中給定點中最近的點對(若存在多對,則輸出其中的一對即可)。程序運行時,先輸入點的個數和一組互異的點的坐標,通過計算每對點之間的距離,從而確定出距離最近的點對。例如,在圖6-1所示的8個點中,點(1,1)與(2,0.5)是間距最近的點對。




軟考科目怎么選?
微信掃碼下方二維碼找答案
▼ ▼ ▼
熱門:信息系統監理師備考 | 網絡工程師備考 | 軟件設計師備考
推薦:信息系統項目管理師網絡課堂 | 2026年軟考報名時間及入口匯總表
課程:信息系統項目管理師報考指南 | PMP課程
軟考備考資料免費領取
去領取
專注在線職業教育25年