摘要:2016年下半年信息安全工程師考試下午真題第一部分。
軟考每年考兩次,信息安全工程師考試為2016年下半年新開考的一項中級資格考試。希賽網為大家整理了2016年下半年信息安全工程師考試下午真題,以下是第一部分,供大家參考。
試題一(共20分)
閱讀下列說明和圖,回答問題1至問題4,將解答填入答題紙的對應欄內。
【說明】
研究密碼編碼的科學稱為密碼編碼學,研究密碼破譯的科學稱為密碼分析學,密碼編碼學和密碼分析學共同組成密碼學。密碼學作為信息安全的關鍵技術,在信息安全領域有著廣泛的應用。
【問題1】(9分)
密碼學的安全目標至少包括哪三個方面?具體內涵是什么?
【問題2】(3分)
對下列違規安全事件,指出各個事件分別違反了安全目標中的哪些項?
(1)小明抄襲了小麗的家庭作業。
(2)小明私自修改了自己的成績。
(3)小李竊取了小劉的學位證號碼、登錄口令信息,并通過學位信息系統更改了小劉的學位信息記錄和登錄口令,將系統中小劉的學位信息用一份偽造的信息替代,造成小劉無法訪問學位信息系統。
【問題3】(3分)
現代密碼體制的安全性通常取決于密鑰的安全,為了保證密鑰的安全,密鑰管理包括哪些技術問題?
【問題4】(5分)
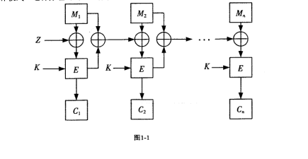
在圖1-1給出的加密過程中,Mi,z=1,2,…,表示明文分組,Ci,f=1,2,…,表示密文分組,Z表示初始序列,K表示密鑰,E表示分組加密過程。該分組加密過程屬于哪種工作模式?這種分組密碼的工作模式有什么缺點?

試題二(共10分)
閱讀下列說明和圖,周答問題1至問題2,將解答填入答題紙的對應欄內。
【說明】
訪問控制是對信息系統資源進行保護的重要措施l適當的訪問控制能夠阻止未經授權的用戶有意或者無意地獲取資源。訪問控制一般是在操作系統的控制下,~按照事先確定的規則決定是否允許用戶對資源的訪問。圖2-1給出了某系統對客體traceroute.mpg實施的訪問控制規則。

【問題1】(3分)
針對信息系統的訪問控制包含哪些基本要素?
【問題2】(7分)
分別寫出圖2-1中用戶Administrator對應三種訪問控制實現方法,即能力表、訪問控制表和訪問控制矩硨下的訪問控制規則。
>>>返回目錄:2016年下半年信息安全工程師考試下午真題匯總
相關推薦:
軟考不知道考啥科目?掃碼測最適合你的報考科目

通關資源:軟考各科歷年真題 | 各科學習資料匯總 | 在線試題庫【點擊刷題】
免費課程:系統架構設計師報考指南 | 2026年高項備考指導課及精講試聽
熱門活動: 新年新起點,大額滿減有驚喜![]()
軟考備考資料免費領取
去領取
專注在線職業教育25年